歡迎訪問北京中天恒遠環保設備有限公司官網!
咨詢熱線:010-8022-5898 手機:18610094262
-
高排量污水過濾機 2018-01-20 [行業資訊] 熱度:296

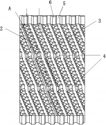
本發明涉及污水過濾領域,具體的說是一種高排量污水過濾機,包括主動轉軸、兩個從動轉軸、兩塊安裝板、柔性過濾網、控制器、清潔轉軸、排污溝、排污絞龍、排污管和儲污池,主動轉軸和從動轉軸安裝在安裝板上,柔性過...
-
充分利用污水的節水系統 2018-01-20 [行業資訊] 熱度:285

本實用新型公開了一種充分利用污水的節水系統,其技術方案要點是包括蓄水箱和馬桶,每層樓層均設有蓄水箱和馬桶,并且馬桶低于同一樓層的蓄水箱,蓄水箱頂部固定連接有污水管,污水管另一端連接有用于收集污水的污水...
-
快速高效污泥烘干裝置 2018-01-20 [行業資訊] 熱度:210

本實用新型公開了一種快速高效污泥烘干裝置,包括烘干箱、好氧室、沖洗管、中空粉碎軸和粉碎齒,所述烘干箱上方設有好氧室,所述好氧室一端設有排氣管,所述好氧室下方設有沖洗管,所述烘干箱下方設有分離液管,所述...
-
寶雞市扶風縣百合污水處理廠 2018-01-20 [行業資訊] 熱度:364

寶雞市扶風縣百合污水處理廠于2017年建設,陜西寶雞市扶風縣百合污水處理廠采用較為先進的污水處理工藝卡魯塞爾氧化溝, 其設計規模為2萬立方米/日, 先期日處理規模達到2萬立方米/日,項目投資近1280萬元,工程概況...
-
北京航天城污水處理廠CASS法工藝調試及運行(圖文) 2018-01-20 [公司動態] 熱度:372

北京航天城污水處理廠是跨世紀國家重點工程的配套設施。該污水處理廠分兩期建設,一期工程于1996年12月破土動工,至1998年4月建成并投入設備調試及試運行,7月29日經北京市環保局驗收后轉入正常運轉。近期排放污水量...
-
污水處理填料介紹(圖文) 2018-01-20 [公司動態] 熱度:283

本實用新型公開了一種污水處理填料。該填料由許多片波紋薄板組合而成;單片波紋薄板上端和下端間隔設有一個個截面為梯形的凸臺,中間段是一列列平行排列的傾斜的階梯,每列傾斜的階梯由一排排平行排列的凸出的臺階即...
-
超臨界水氧化技術的工藝及裝置(圖文) 2018-01-20 [公司動態] 熱度:665

由于超臨界水具有溶解非極性有機化合物(包括多氯聯苯等)的能力,在足夠高的壓力下,它與有機物和氧或空氣完全互溶,因此這些化合物可以在超臨界水中均相氧化,并通過降低壓力或冷卻選擇性地從溶液中分離產物。 超臨...
-
醫療污水處理流程 2018-01-20 [公司動態] 熱度:319

醫療污水處理流程 醫療機構污水中含有一些特殊的污染物,如藥物、消毒劑、診斷用劑、洗滌劑,以及大量病原性微生物、寄生蟲卵及各種病毒,如蛔蟲卵、肝炎病毒、結核菌和痢疾菌等。此外,在設有同位素診療室的醫療機...
-
皮革涂飾廢水處理方法介紹(圖文) 2018-01-20 [公司動態] 熱度:281

皮革涂飾是皮革加工過程中的一道重要工序,具有美化皮革外觀、修復傷殘缺陷、提高耐用性能、增加花色品種等作用。但在皮革涂飾過程中,會產生成分復雜、治理難度大的皮革涂飾廢水〔1〕。皮革涂飾廢水與傳統皮革加工...
-
游泳池水循環技術介紹(圖文) 2018-01-20 [公司動態] 熱度:442

游泳池工程技術具有自身的特點,它需用游泳池專門的技術、專用的設備,這些造就了專業性很強的游泳池行業,它具體表現在: 游泳池水循環技術1.游泳池池水的循環過濾消毒就是再生水的利用,池水反復地循環和再生利用...
-
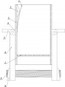
污水雜質過濾器介紹(圖文) 2018-01-20 [公司動態] 熱度:310

一種污水雜質過濾器,外殼外面鉸接有多個支撐架,支撐架為L型,支撐架包括垂直相交的擋桿和支撐桿,擋桿位于支撐桿上端,擋桿與支撐桿的相交處與外殼相鉸接,支撐架向上翻折時、擋桿緊貼在外殼外面,支撐架向下翻折...
-
含氟廢水資源化回收酸液方法介紹(圖文) 2018-01-20 [公司動態] 熱度:311

本發明屬于廢水處理領域,特別涉及一種利用含鋁電拋液和含氟廢水資源化回收酸液的方法,將含氟廢水預處理后收集至儲存槽1中,將含鋁電拋液預處理后收集至儲存槽2中;取儲存槽1中的含氟廢水和儲存槽2中的含鋁電拋液在...
-
甲胺磷廢水處理方法介紹(圖文) 2018-01-20 [公司動態] 熱度:276

甲胺磷是一種被廣泛使用的廣譜型的有機磷殺蟲劑,毒性大、穩定性強,對微生物的活性有很強的毒性或抑制作用;甲胺磷生產廢水也具有有害成分多、濃度高、B/C 值遠小于0.3,可生化性差等特點。目前處理甲胺磷生產廢水所...
-
廢水污染源監測系統介紹(圖文) 2018-01-20 [公司動態] 熱度:415

本發明提供一種廢水污染源監測系統,涉及環境監測技術領域,包括水樣采集裝置,水樣采集裝置與CPU連接,CPU分別與攝像頭、儲存模塊、顯示模塊、報警模塊、無線通信模塊、水泵、閥門和伺服電機連接;無線通信模塊與監...
-
高效率化學廢水廢渣處理設備介紹(圖文) 2018-01-20 [公司動態] 熱度:298

本發明公開了一種高效率化學廢水廢渣處理設備,所述反應腔體的頂部一側開設有進料口,所述反應腔體的內部中間位置還豎向裝設有轉動軸,所述轉動軸的頂端與外部的轉動電機的轉子同軸連接,且轉動電機的轉子與轉動軸均...
- 首頁
- 上一頁
- 538
- 539
- 540
- 541
- 542
- 543
- 544
- 545
- 546
- 547
- 548
- 下一頁
- 末頁
- 共 644頁9646條
服務地區:北京;天津;上海;重慶;河北;河南;云南;遼寧;黑龍江;湖南;安徽;山東;江蘇;浙江;江西;湖北;廣西;甘肅;山西;陜西;吉林;福建;貴州;廣東;青海;四川;寧夏;海南
服務地區:哈爾濱;長春;沈陽;南京;濟南;合肥;石家莊;鄭州;武漢;長沙;南昌;西安;太原;成都;西寧;海口;廣州;貴陽;杭州;福州;臺北;蘭州;昆明;銀川;烏魯木齊;拉薩;南寧
補充分類:電廠;工業;游泳池;系統;工程;工程師;藥劑;過濾器;絮凝劑;公司;廠家;生產廠家;