今天為廣大朋友介紹的是——污水處理壓濾間自動壓濾技術
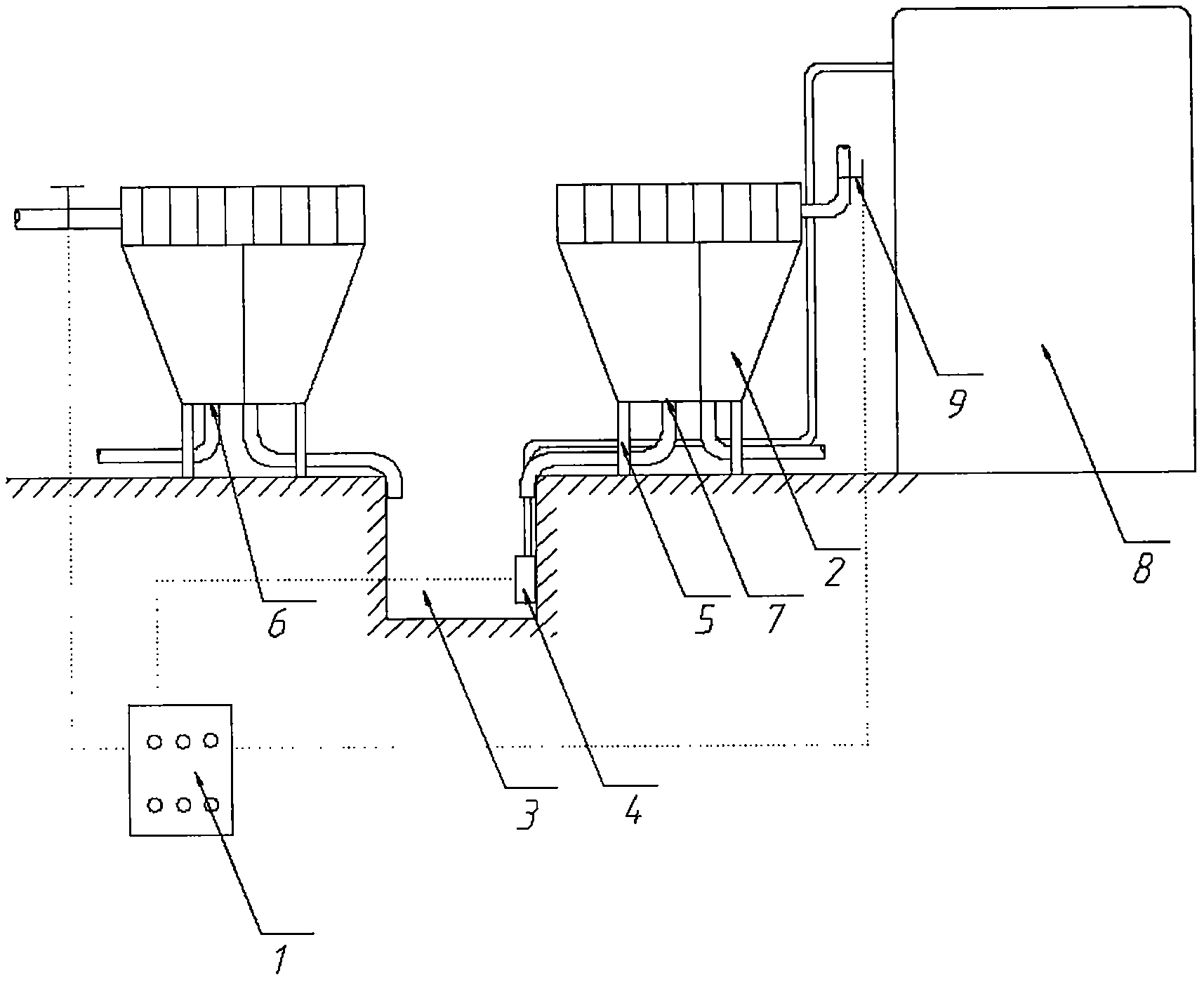
污水處理壓濾間自動壓濾裝置,涉及污水處理領域,包括電氣控制柜,兩臺壓濾機,位于兩臺壓濾機之間收集池,位于收集池內的壓濾提升泵;所述兩臺壓濾機通過支架對稱固定于于收集池的左右兩側,所述壓濾機的底部設置有污水排出口及污泥排出口,所述污水排出口通過管道連接于收集池中,所述污泥排出口通過管道排除裝置外,所述壓濾提升泵通過管道連接PH調整槽。本實用新型壓濾機采用了全自動控制,節省了人力,加快了污泥和水分離的效率,在壓濾間設計了一個壓濾水收集池,使壓濾水抽回PH調整池繼續處理,避免對環境造成污染。

1.一種污水處理壓濾間自動壓濾裝置,其特征在于:包括電氣控制柜,兩臺壓濾機,位于兩臺壓濾機之間收集池,位于收集池內的壓濾提升泵;所述兩臺壓濾機通過支架對稱固定于收集池的左右兩側,所述壓濾機的底部設置有污水排出口及污泥排出口,所述污水排出口通過管道連接于收集池中,所述污泥排出口通過管道排除裝置外,所述壓濾提升泵通過管道連接PH調整槽。
2.根據權利要求1所述的污水處理壓濾間自動壓濾裝置,其特征在于:所述壓濾機入口通過管道連接污泥泵,所述污泥泵將污泥提升到壓濾機中。
3.根據權利要求1所述的污水處理壓濾間自動壓濾裝置,其特征在于:所述壓濾機入口管道上安裝有電磁閥,所述電氣控制柜通過導線連接電磁閥、壓濾提升泵開關及壓濾機開關,控制電磁閥、壓濾提升泵及壓濾機的打開與閉合。
現有的污泥壓濾機壓緊裝置的動力是人力,壓緊部分是用手動轉動手輪,通過小齒輪傳動大齒輪,大齒輪帶動絲杠推動壓緊板,將位于壓緊板和止推板之間的濾板和濾框、濾布壓緊,比較后使用杠桿進一步壓緊的。是比較傳統的一種壓濾除水的裝置,經過壓濾機脫水后,直接形成干的泥餅,壓濾過的水直接排放。因為壓濾機不能將污泥和水脫離的很完全,分離出來的水里面還會含有污泥,所以這部分水不能直接排放,還應該返回到反應池繼續處理
現有的處理工藝存在很多缺點,
1、手動壓緊壓濾機壓濾裝置的動力是人力,這樣每次卸泥和壓緊很費時費力,現場需要兩臺手動壓緊壓濾機全天候的工作才能完成污泥的脫水工作。
2、壓濾機壓濾出的水沒有收集裝置排到地溝,此類水重金屬含量超標,直接排出總出水口,會對環境造成污染。
實用新型內容
為解決以上問題本實用新型提供一種污水處理壓濾間自動壓濾裝置,包括電氣控制柜,兩臺壓濾機,位于兩臺壓濾機之間收集池,位于收集池內的壓濾提升泵;所述兩臺壓濾機通過支架對稱固定于收集池的左右兩側,所述壓濾機的底部設置有污水排出口及污泥排出口,所述污水排出口通過管道連接于收集池中,所述污泥排出口通過管道排除裝置外,所述壓濾提升泵通過管道連接PH調整槽。
進一步,所述壓濾機入口通過管道連接污泥泵,所述污泥泵將污泥提升到壓濾機中。
進一步,所述壓濾機入口管道上安裝有電磁閥,所述電氣開關柜通過導線連接電磁閥、壓濾提升泵開關及壓濾機開關,控制電磁閥、壓濾提升泵及壓濾機的打開與閉合。
本實用新型的有益效果:1、本實用新型壓濾機采用了全自動控制,節省了人力,加快了污泥和水分離的效率。2、本實用新型在壓濾間設計了一個壓濾水收集池,使壓濾水抽回PH調整池繼續處理,避免對環境造成污染。

污水處理設備聯系方式:
銷售熱線:010-8022-5898
手機號碼:186-1009-4262





