今天為廣大朋友介紹的是——雙甘膦廢水的處理技術
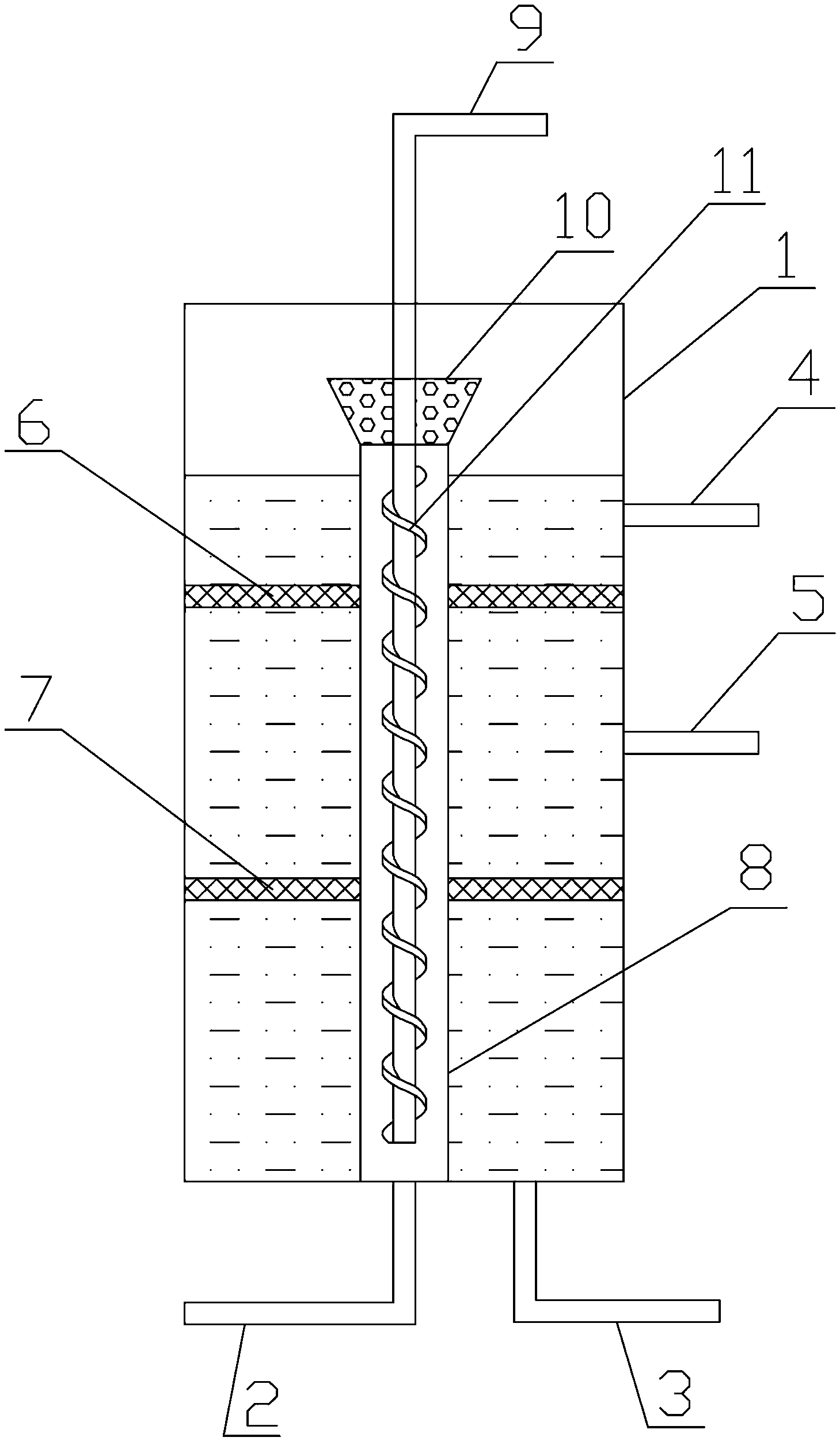
雙甘膦廢水的處理裝置,使處理程度更徹底、系統集成化更高包括處理容器,所述處理容器內部由上至下設有過濾板、第二過液板,所述過濾板、第二過液板將所述處理容器由上至下分隔為處理容器上部、處理容器中部和處理容器下部,所述處理容器設有廢水反應裝置。所述過濾板與第二過液板之間的間距為處理容器高度的0.3-0.7倍。本實用新型提供的雙甘膦廢水的處理裝置,可以使雙甘膦廢水在分步處理中逐步得以凈化,廢水在反應管內與雙氧水混合,管內設置的螺旋板使廢水和雙氧水混合充分,反應完全,保證了廢水達標排放。

權利要求書
1.一種雙甘膦廢水的處理裝置,包括處理容器(1),其特征在于:所述處理容器(1)內部由上至下設有過濾板(6)、第二過液板(7),所述過濾板(6)、第二過液板(7)將所述處理容器(1)由上至下分隔為處理容器上部、處理容器中部和處理容器下部,所述處理容器(1)設有廢水反應裝置;
所述廢水反應裝置包括反應管(8),所述反應管(8)設于處理容器(1)的中心區域并穿過過濾板(6)、第二過液板(7),所述反應管(8)底部與處理容器(1)底部連接,所述反應管(8)上端位于處理容器上部,所述反應管(8)上端設有分布器(10),中心管(9)穿過處理容器(1)和分布器(10)通入到反應管(8)內。
2.根據權利要求1所述的雙甘膦廢水的處理裝置,其特征在于:所述中心管(9)外側設有螺旋板(11)。
3.根據權利要求1所述的雙甘膦廢水的處理裝置,其特征在于:所述處理容器上部設有堿液進口(4),所述處理容器中部設有酸液進口(5),所述處理容器下部設有料液出口(3)。
4.根據權利要求1所述的雙甘膦廢水的處理裝置,其特征在于:所述反應管(8)底部設有料液入口(2)。
5.根據權利要求1所述的雙甘膦廢水的處理裝置,其特征在于:所述過濾板(6)與第二過液板(7)之間的間距為處理容器(1)高度的0.3-0.7倍。
6.根據權利要求5所述的雙甘膦廢水的處理裝置,其特征在于:所述過濾板(6)與第二過液板(7)之間的間距為處理容器(1)高度的0.5倍。
說明書
一種雙甘膦廢水的處理裝置
技術領域
本實用新型屬于工業廢水的處理領域,具體涉及一種雙甘膦廢水的處理裝置。
背景技術
雙甘膦(PMIDA)是生產高效、低毒、廣譜滅生性芽后除草劑的主要原料,也是農藥、醫藥、橡膠、電鍍、染料行業中重要中間體。其制法是將亞氨基二乙酸鈉鹽加入過量的鹽酸,生成亞氨基二乙酸鹽酸鹽,高溫脫水,再加入亞磷酸和滴加甲醛,滴加完后,再滴加液堿,攪拌,結晶。但在生產過程中會產生大量的廢水,需要對廢水進行處理合格達標才能排放,其處理方法主要包括有:膜分離法、沉淀法等。采用膜分離的方法時,仍然會存在有一些被分離出來的濃縮廢水,難以處理,而沉淀法的處理程度不高。
發明內容
鑒于現有技術的不足,本實用新型目的在于提供一種雙甘膦廢水的處理裝置,使處理程度更徹底、系統集成化更高。
本實用新型所采用的技術方案是:
一種雙甘膦廢水的處理裝置,包括處理容器,其特征在于:所述處理容器內部由上至下設有過濾板、第二過液板,所述過濾板、第二過液板將所述處理容器由上至下分隔為處理容器上部、處理容器中部和處理容器下部,所述處理容器設有廢水反應裝置;
所述廢水反應裝置包括反應管,所述反應管設于處理容器的中心區域并穿過過濾板、第二過液板,所述反應管底部與處理容器底部連接,所述反應管上端位于處理容器上部,所述反應管上端設有分布器,中心管穿過處理容器和分布器通入到反應管內。
所述中心管外側設有螺旋板。
所述處理容器上部設有堿液進口,所述處理容器中部設有酸液進口,所述處理容器下部設有料液出口。
所述反應管底部設有料液入口。
所述過濾板與第二過液板之間的間距為處理容器高度的0.3-0.7倍。
所述過濾板與第二過液板之間的間距為處理容器高度的0.5倍。
本實用新型提供的雙甘膦廢水的處理裝置,可以使雙甘膦廢水在分步處理中逐步得以凈化,廢水在反應管內與雙氧水混合,管內設置的螺旋板使廢水和雙氧水混合充分,反應完全,保證了廢水達標排放。處理后的廢水指標為:磷的含量約為3-6mg/L,碳的含量約為40-55mg/L,氮的含量約為18-30mg/L,COD約為95-120mg/L。

污水處理設備聯系方式:
銷售熱線:010-8022-5898
手機號碼:186-1009-4262





