今天為廣大朋友介紹的是——污水污泥濃縮池
污水污泥濃縮池,包括污水池和污泥池,所述污水池和污泥池之間設置有透明管段,所述污泥池一側壁上端設置有多個閥門,所述閥門通過管線與污水池連接,所述污水池上方地面上設置有污水泵,所述污泥池上方地面上設置有污泥泵。該污水污泥濃縮池優化了管線的安裝,使污水污泥不分開,統一進入污泥池重力濃縮;同時設置不同高度閥門用以回流不同高度的上清液,保證回流水質,確保污泥不二次進入系統內;另外選用轉子泵替代現有的離心泵或螺桿泵,解決普遍存在的自吸困難、出力不足及檢修困難的問題。

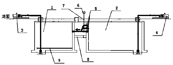
1.一種污水污泥濃縮池,包括污水池(1)和污泥池(2),其特征在于:所述污水池(1)和污泥池(2)之間設置有透明管段(8),所述污泥池(2)一側壁上端設置有多個閥門(5),所述閥門通過管線與污水池(1)連接,所述污水池(1)上方地面上設置有污水泵(3),所述污泥池(2)上方地面上設置有污泥泵(4)。
2.如權利要求1所述的污水污泥濃縮池,其特征在于:所述污水泵(3)和污泥泵(4)均采用工業轉子泵。
3.如權利要求1所述的污水污泥濃縮池,其特征在于:所述污水泵(3)高出污水池(1)池底4.0-4.5m。
4.如權利要求1所述的污水污泥濃縮池,其特征在于:所述污泥泵(4)高出污泥池(2)池底4.0-4.5m。
5.如權利要求1所述的污水污泥濃縮池,其特征在于:所述閥門(5)設置于地下0.5m至2.0m之間。
6.如權利要求1所述的污水污泥濃縮池,其特征在于:所述多個閥門(5)之間均勻分布設置或不均勻分布設置。
7.如權利要求1所述的污水污泥濃縮池,其特征在于:所述閥門(5)上設置有閥門手輪(6)和閥門操作桿(7)。
8.如權利要求7所述的污水污泥濃縮池,其特征在于:所述閥門(5)的閥門手輪(6)通過閥門操作桿(7)加長的方式設置在地面上0.7-1.2m處。
9.如權利要求1所述的污水污泥濃縮池,其特征在于:所述污水池(1)內設置有伴熱管線(9),該伴熱管線(9)在污水池(1)池壁上環繞池底一圈,其高度為高出污水池(1)池底0.3-0.5m。
10.如權利要求1所述的污水污泥濃縮池,其特征在于:所述污泥池(2)內設置有放空管線。
在國內油田采出水處理領域,大量使用各類污水污泥池用以排泥以及接收重力排水。
而經過多年的運行發現,現有的污水污泥池普遍存在以下問題:1)污水污泥二次循環造成系統污染;2)污水污泥池中污泥沉淀效果不理想,污泥中含水率高,需經過多次沉降池處理,工序繁多,造成基礎建設投資大,運營成本高;3)現有的污水污泥池中污泥泵多采用離心泵或螺桿泵,而離心泵或螺桿泵不同程度均存在自吸困難,故障檢修次數多,出力不足等問題。
因此,在對油田采出水進行水處理時需要對污泥進行濃縮,降低污泥的含水率,避免污水污泥二次循環造成系統污染。
實用新型內容
本實用新型的目的是克服現有技術中上述油田采出水處理存在的不足。
為此,本實用新型提供了一種污水污泥濃縮池,包括污水池和污泥池,所述污水池和污泥池之間設置有透明管段,所述污泥池一側壁上端設置有多個閥門,所述閥門通過管線與污水池連接,所述污水池上方地面上設置有污水泵,所述污泥池上方地面上設置有污泥泵。
上述污水泵和污泥泵均采用工業轉子泵。
上述污水泵高出污水池池底4.0-4.5m。
上述污泥泵高出污泥池池底4.0-4.5m。
上述閥門設置于地下0.5m至2.0m之間。
上述多個閥門之間均勻分布設置或不均勻分布設置。
上述閥門上設置有閥門手輪和閥門操作桿。
上述閥門的閥門手輪通過閥門操作桿加長的方式設置在地面上0.7-1.2m處。
上述污水池內設置有伴熱管線,該伴熱管線在污水池池壁上環繞池底一圈,其高度為高出污水池池底0.3-0.5m。
上述污泥池內設置有放空管線。
本實用新型的有益效果:
(1)管線安裝優化:無論污水污泥管線均接入污泥池,包括過濾反洗水、罐底排污及其它各類污水污泥統一匯入污泥池重力濃縮,避免了污水污泥二次循環造成系統污染。
(2)本實用新型設置多個不同高度閥門用以回流不同高度的上清液,保證回流水質,確保污泥不二次進入系統內。
(3) 本實用新型中污水泵和污泥泵選用轉子泵替代現有的離心泵或螺桿泵,解決普遍存在的自吸困難、出力不足及檢修困難的問題。

污水處理設備聯系方式:
銷售熱線:010-8022-5898
手機號碼:186-1009-4262





