今天小編為大家介紹的是——水處理鈣鎂離子吸附自動剝離器
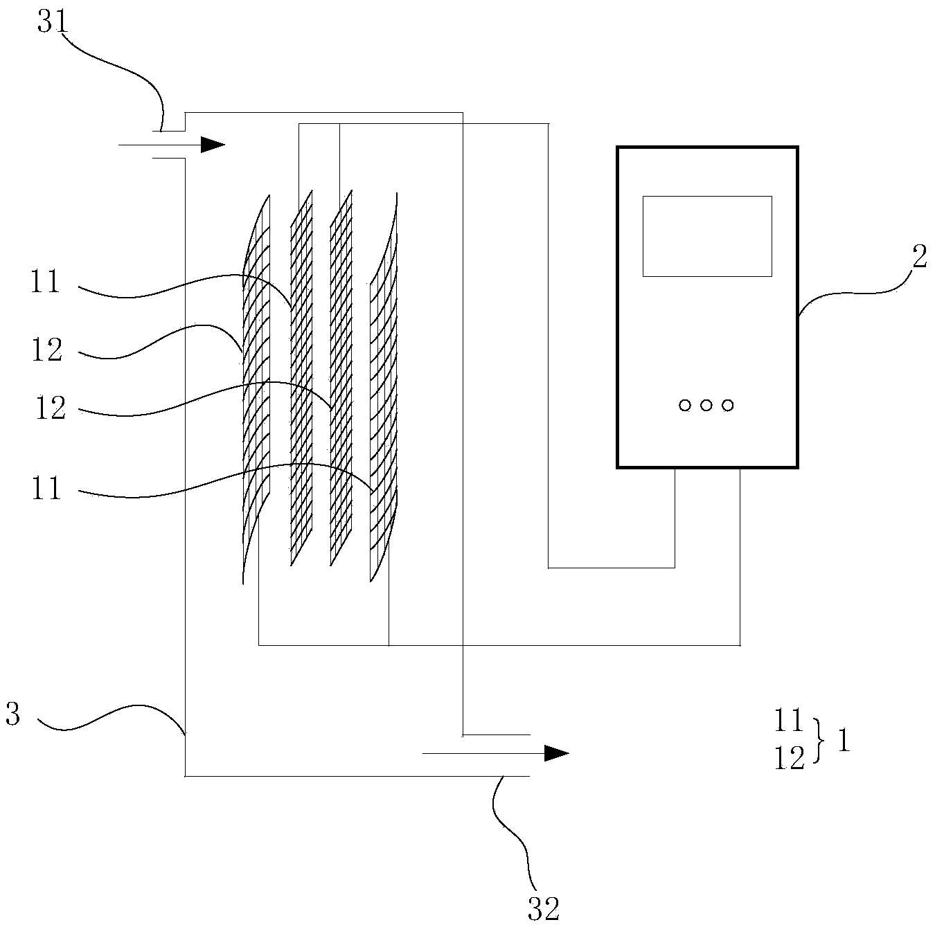
鈣鎂離子吸附自動剝離器,包括容器、控制主機和至少一組電極組,所述容器上設有出水口和入水口,所述電極組位于所述容器內,所述電極組包括至少兩個電極,至少兩個電極被區分為類電極和第二類電極,所述控制主機至少用以向所述電極輸出高頻電信號,且所述類電極與第二類電極分別連接至所述控制主機的不同的電極接口,從而分別實現正負兩種極性的電信號輸出,所述類電極與第二類電極的數量相等。

1.一種水處理的鈣鎂離子吸附自動剝離器,其特征在于:包括容器、控制主機和至少一組電極組,所述容器上設有出水口和入水口,所述電極組位于所述容器內,所述電極組包括至少兩個電極,至少兩個電極被區分為類電極和第二類電極,所述控制主機至少用以向所述電極輸出高頻電信號,且所述類電極與第二類電極分別連接至所述控制主機的不同的電極接口,從而分別實現正負兩種極性的電信號輸出,所述類電極與第二類電極的數量相等。
2.如權利要求1所述的水處理的鈣鎂離子吸附自動剝離器,其特征在于:每個所述電極組中的類電極和第二類電極的數量均為兩個,且兩個所述類電極位于兩個所述第二類電極之間,四個所述電極間隔排布。
3.如權利要求1所述的水處理的鈣鎂離子吸附自動剝離器,其特征在于:所述控制主機被配置成所述電極接口的輸出極性可調。
4.如權利要求1所述的水處理的鈣鎂離子吸附自動剝離器,其特征在于:所述剝離器出水口低于所述電極組,所述入水口高于所述電極組。
5.如權利要求1所述的水處理的鈣鎂離子吸附自動剝離器,其特征在于:所述電極組安裝于所述容器上。
水資源為不可再生資源,也是人類賴以生存的比較基本條件,所以節約用水,保護水資源已經成為了世界性的問題。為了節約水資源及改善水體質量,人們通常會使用一些水處理裝置來凈化水體,改善水體質量,將一些水體經過水處理壯漢子處理后重新利用,達到了節約水資源的目的。
現有的鈣鎂離子吸附設備都是人工手動清理吸附后的水垢,這就使得循環水系統運作中人工工作量繁重、設備的故障率高,如何解決循環水系統中結垢問題就成為了領域內亟需解決的技術問題。
為了解決以上提到的技術問題,本發明提供了一種水處理的鈣鎂離子吸附自動剝離器,包括容器、控制主機和至少一組電極組,所述容器上設有出水口和入水口,所述電極組位于所述容器內,所述電極組包括至少兩個電極,至少兩個電極被區分為類電極和第二類電極,所述控制主機至少用以向所述電極輸出高頻電信號,且所述類電極與第二類電極分別連接至所述控制主機的不同的電極接口,從而分別實現正負兩種極性的電信號輸出,所述類電極與第二類電極的數量相等。
可選的,每個所述電極組中的類電極和第二類電極的數量均為兩個,且兩個所述類電極位于兩個所述第二類電極之間,四個所述電極間隔排布。
可選的,所述控制主機被配置成所述電極接口的輸出極性可調。
可選的,所述剝離器出水口低于所述電極組,所述入水口高于所述電極組。
可選的,所述電極組安裝于所述容器上。
本發明提供的鈣鎂離子吸附自動剝離器通過電子高頻振蕩原理,由控制器發出高頻電信號,通過電極作用于水中,進而實現水垢吸附自動分離,達到鈣鎂離子吸附凈化效果,讓水的硬度降低,達到循環水系統設備少結垢、延緩結垢、不結垢狀態。

污水處理設備聯系方式:
銷售熱線:010-8022-5898
手機號碼:186-1009-4262





