歡迎訪問北京中天恒遠環保設備有限公司官網!
咨詢熱線:010-8022-5898 手機:18610094262
-
冷卻循環水處理工藝及其特點 2018-01-24 [行業資訊] 熱度:169

冷凍水是只通過制冷機使其溫度下降后再流向冷卻工藝的循環水,主要用于中央空調和工廠中需低溫冷卻的系統。就冷卻系統的構成而言,冷凍水分為密閉式和非密閉式,非密閉式又分為部分敞開式和噴淋式兩種類型。 冷凍水...
-
飲用水消毒過程研究 2018-01-24 [行業資訊] 熱度:169

氯消毒應用于飲用水消毒處理已有100多年的歷史,是目前飲用水廠最常見的消毒技術. 然而自從20世紀70年代Rook首先發現飲用水氯消毒后有副產物三鹵甲烷(THMs)生成,多種DBPs陸續被檢出,例如鹵乙酸、 鹵乙腈、 鹵代醛...
-
高效的污水取樣裝置 2018-01-24 [行業資訊] 熱度:262

本發明涉及一種污水取樣裝置,包括取樣器以及瞄準裝置;所述取樣器包括上機械室以及下集液室;上機械室沿其內壁四周均勻設置有若干個伸縮驅動室;所述伸縮驅動室遠離上機械室一側設置伸縮桿;所述伸縮桿穿入伸縮驅動室與...
-
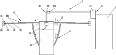
難降解有機廢水物化溶劑吸附處理設備介紹 2018-01-23 [行業資訊] 熱度:277

本實用新型公開了一種難降解有機廢水的物化溶劑吸附處理設備,包括反應罐、高壓風機、氧化室和氣浮室,所述氧化室右側連接有第二連接管道,所述排渣口右側固定有排渣管道,所述氣浮室右側連接有第三連接管道,所述第...
-
廣西欽州市河東污水處理廠提標改造工程施工招標公告 2018-01-23 [行業資訊] 熱度:245

1. 招標條件 本招標項目 欽州市河東污水處理廠提標改造工程 已由 欽州市發展和改革委員會 以 欽市發改環資[2017] 32號、欽市發改環資[2017] 39號、欽市發改環資[2017]64號 文批準建設,招標人為 欽州市開投水務有限...
-
城市污水處理方法和處理工藝介紹 2018-01-23 [行業資訊] 熱度:301

污水處理方法城市污水處理方法,按原理可分為物理處理法、化學處理法和生物處理法三類。城市污水的常規處理工藝①一級、二級、三級污水處理工藝現代污水處理技術,按照處理程度,可以分為一級、二級和三級處理污水工...
-
有機磷廢水處理技術 2018-01-23 [行業資訊] 熱度:353

有機磷農藥廢水的治理已成為國內外水處理領域的難題。該類廢水含有大量有機磷農藥中間體及水解產物,毒性大,難降解物質多,可生化性差,在沒有其他有機廢水混配或稀釋的情況下,很難直接采用生化法處理〔1-2〕。 近...
-
浙江江山市清湖鎮花園崗下山搬遷安置點二期基礎設施配套建設工程 2018-01-23 [行業資訊] 熱度:437

4期21號 1、招標條件 本招標項目江山市清湖鎮花園崗下山搬遷安置點二期基礎設施配套建設工程已經江發改投建【2017】49號文件批準建設,資金來源為上級補助及自籌,招標人為江山市清湖鎮人民政府。項目已具備招標條件...
-
湖北武漢愛民制藥有限公司數字化原料藥生產車間項目配套污水處理 2018-01-23 [行業資訊] 熱度:292

項目名稱武漢愛民制藥有限公司數字化原料藥生產車間項目配套污水處理站 地區湖北性質新建 進展武漢投資總額3350萬元 污水處理措施污水處理站 建設單位武漢愛民制藥有限公司 環評單位武漢工程大學 聯系人:方工 電話...
-
中華人民共和國水污染防治法(1996年修正) 2018-01-23 [行業資訊] 熱度:229

頒布機關:全國人民代表大會常務委員會 頒布時間:1984-05-11 修改時間:1996-05-15 實施時間:1984-11-01 時效性:有效 (1984年5月11日第六屆全國人民代表大會常務委員會第五次會議通過根據1996年5月15日第八屆全國...
-
超濾膜處理石化污水后的清洗方法 2018-01-23 [行業資訊] 熱度:232

中石油廣西石化分公司的石油煉制污水,采用隔油、調節、氣...
-
浙江杭州慈養老年醫院建設項目配套污水處理設施 2018-01-23 [行業資訊] 熱度:295

實施地點及規模:項目為一級綜合醫院,主要診療科目為內科、外科、康復醫學科、中醫科、婦科、X線診斷專業、超聲診斷專業、心電診斷專業、醫學檢驗科、臨終關懷等項目。該醫院總投資5000萬元,共設床位99張,租用杭...
-
污泥脫水藥劑及其使用方法 2018-01-23 [行業資訊] 熱度:338

本發明涉及一種污泥脫水藥劑,其由助濾劑、絮凝劑和過氧化物組成,可以顯著降低污泥比阻,而且污泥脫水藥劑本身又可以作為脫水后污泥進一步好氧堆肥處理的輔料,減少堆肥階段的輔料消耗,由于孔隙率高,可以減少翻拋...
-
肇慶環保企業運用污泥制磚新技術 年處理污泥30萬噸 2018-01-23 [行業資訊] 熱度:365

近年來,肇慶積極引入市場化手段,加強環境保護,大力謀劃,推進環保產業發展。近日,記者走訪我市環保企業發現,為解決污泥處理問題,環保企業運用新技術,以污泥制磚,每年可處理30萬噸污泥。 近年來,隨著我市城...
-
西安灞橋區現代紡織產業園區污水處理廠 2018-01-23 [行業資訊] 熱度:529

西安灞橋區現代紡織產業園區污水處理廠于2014年建設,陜西西安灞橋區現代紡織產業園區污水處理廠采用較為先進的污水處理工藝組合生態塘, 其設計規模為5萬立方米/日, 先期日處理規模達到2萬立方米/日,項目投資近82...
- 首頁
- 上一頁
- 448
- 449
- 450
- 451
- 452
- 453
- 454
- 455
- 456
- 457
- 458
- 下一頁
- 末頁
- 共 514頁7703條
服務地區:北京;天津;上海;重慶;河北;河南;云南;遼寧;黑龍江;湖南;安徽;山東;江蘇;浙江;江西;湖北;廣西;甘肅;山西;陜西;吉林;福建;貴州;廣東;青海;四川;寧夏;海南
服務地區:哈爾濱;長春;沈陽;南京;濟南;合肥;石家莊;鄭州;武漢;長沙;南昌;西安;太原;成都;西寧;?冢粡V州;貴陽;杭州;福州;臺北;蘭州;昆明;銀川;烏魯木齊;拉薩;南寧
補充分類:電廠;工業;游泳池;系統;工程;工程師;藥劑;過濾器;絮凝劑;公司;廠家;生產廠家;